| |
 |
| |
|
| |
|
| |
| |
|
|
| |
TRZ03涡轮流量计符合DIN33800标准,适用于气体流量计量。流量计机械表头显示工况压力和温度条件下的累计体积流量。
气流通过进口端的整流器后,作用在轴向安装的叶轮上,叶轮的转数和气体的流速成正比,通过涡轮蜗杆及磁耦合机构将叶轮的转动传送至表头计数器。
|
|
| |
|
|
|
| |
|
| |
| |
|
|
| |
证书:TRZ03已通过了中国国家质量技术监督局的计量认证,并获得型式许可证。它获得了德国PTB及DVGW的质量认证:
EU approval D81.7.211.10
Domestic approval 7.21 1/93.06
DVGW registration NG-4702AK0004
|
|
| |
|
|
|
| |
|
| |
|
| |
| |
|
|
| |
测量范围:最大量程比l:30
在高压测试条件下,量程比最大可到l:50
公称直径:DN50~DN600
压力等级:PNl0~PNl00
ANSI150~ANSl600
另外,可以根据特殊要求提供更高压力等级的特殊设计。
工作温度:一10~+50℃
另外,可以根据特殊要求提供更高或更低温度工况的特殊设计。
防爆等级:脉冲发生器本安防爆,防爆等级:
EEx ib iiC T6,因此,TRZ03涡轮表可以安装在危险区。
防护等级:IP65
压力取样管:和Ec694校正仪中的压力传感器相连接。
表体上的温度套管(选项):插入电阻温度计 |
|
| |
|
|
|
| |
|
| |
|
| |
| |
|
|
| |
在流体稳定下、无扰动的情况下:
0.2Qmax~Qmax:±0.5%
Qmin~0.2Qmax:±1.0%
重复性: ±0..1%
启动流量:0.5%Qmax
气体种类:TRz03涡轮流量计的设计标准适用于符合DVGW的所有气体。所使用的材料适用于天然气、精炼气、液化气及其混合气、氮气、二氧化碳、空气及所有惰性气体。
对于腐蚀性气体(例如:酸性气体、乙烯)可提供特殊设计,包括PTFE内衬、特殊材质、特别润滑等。
维护:所有涡轮流量计都配有润滑油泵。
润滑油的加注必须遵循操作说明书。如果使用清洁气体,可以每3个月注一次油;如果气体中含有杂质或者有冷凝物,则必须较频繁地加注润滑油。
安装及操作说明:管径小于等于DN200时,TRz03流量计可安装在任何方向(水平垂直)。管径大于等于DN250时,TRZ03流量计只能水平安装。
|
|
| |
|
|
|
| |
|
| |
| |
|
|
| |
△PA=△P·PN/0.083·PA·(QA/Qmax)2
其中:
△PA=实际工况条件下(PA,QA)的压力损失,单位kpa
△P=压力为0.1Mpa时最大流量情况下的压力损失,单位kpa
PN=天然气的标准密度kg/m3
PA=工作压力Mpa(绝对压力)
QA=实际工况条件下的流量m3/h
Qmax=最大流量m3/h
|
|
| |
|
|
|
| |
|
| |
| |
|
|
| |
标准产品的表头装有一个簧片接触式LF低频脉冲发生器。
作为选项:
1.可以安装一个高频脉冲发生器HFl.
2.涡轮表的叶轮上可安装感应式高频脉冲发生器HF3。
3.辅助叶轮上可安装感应式高频脉冲发生器HF2。
所有脉冲发生器是本安装的,与其它装置相连时应安装隔离放大器。
脉冲发生器最大频率:
LF:0.3Hz HFl:300Hz
HF2:2.1KHz HF3:2.1KHz
HF2和HF3脉冲发生器信号问的相位移是180度。
压力损失
下表中的压力损△P是天然气在压力0.1Mpa时最大流量情况下的压力损失。工况条件下的压力损失可用以下公式计算: |
|
| |
|
|
|
| |
|
| |
|
| |
| |
|
|
| |
说明:脉冲重量为工况下每个低频脉冲的体积
-- 表示不能用
○ 表示不适用所有的压力等级
● 表示适用所有的压力等级 |
|
| |
|
|
|
| |
|
| |
| |
|
|
| |
流量计本体包括了带有涡轮轴的测量系统。测量元件的上游安装了整流器,能充分消除气流的扰动和旋涡,使气体平稳的通过测量元件。
承压侧的涡轮产生的旋转运动通过涡轮涡杆及磁耦合机构传送到非承压侧的表头,涡轮转数经过表头的齿轮机构被减速,减速比可通过选择适当的可调节齿轮进行调整,机械计数器显示出工况下的体积流量,同时输出相应的低频脉冲信号。
在涡轮流量计的叶轮(HF3)和辅助叶轮(HF2)上输出感应式高频信号。辅助叶轮是一个凸轮,它与涡轮安装在同一个轴上,能与涡轮同步工作。TRZ03-E设计为无机械表头的涡轮流量计,它只能通过HF2和HF3转发脉冲信号。 |
|
| |
|
|
|
| |
|
| |
| |
|
|
| |
涡轮流量计是精密的测量仪器械,在运输、储存及操作过程中要特别注意。不要堵塞下游管线及下游调压站,这样会产生过高的流速而造成涡轮的损害。
涡轮流量计短期的最大超负荷能力为1.2Qmax。这样的负载情况应尽量避免,为了保护流量计要避免不必要的高流速。
气流要避免振动和跳动,并且减少异类颗粒、尘土及液体的含量。建议在涡轮流量计前面安装过滤器和分离器。
涡轮流量计的上游不应有影响气流的因素。 |
|
| |
|
|
|
| |
|
| |
|
| |
| |
|
|
| |
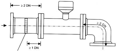
在任何情况下上游需要2DN的直管段.下游如果是弯管,需要2DN的长度,否则不需要直管段.如果进口管的上游有强烈的气体扰动(举例来说,由一个调压器造成气体扰动),建议使用孔板整流装置,结果比不加孔板整流装置时压力损耗低2.5倍.收口或扩口装置必须安装在涡轮流量计上游,并且开角不能超过30.
流量计必须安装在有保护的地方.对室外安装,必须采取适当的保护措施以避免直接的气候影响。 |
|
| |
|
|
|
| |
|
| |
口径
mm
in.
|
流量
|
测量范围
Qmin:Qmax(m3/h)
|
压力等级/重量
|
尺寸
mm
|
1:10/1:20 |
1:30 |
PN |
Kg |
ANSI |
KG |
H |
C |
L |
50
2" |
G40
G65 |
13-65*
10-100 |
--
-- |
10/16
25/40
64/100 |
13
21
21 |
150
300
600 |
13
13
21 |
210 |
60 |
150 |
80
3" |
G100
G160
G250 |
16-160
13-250
20-400 |
--
--
-- |
10/16
25/40
64/100 |
20
25
34 |
150
300
600 |
20
25
36 |
230 |
96 |
240 |
100
4" |
G160
G250
G400 |
13-250
20-400
32-650 |
--
--
20-650 |
10/16
25/40
64/100 |
25
32
45 |
150
300
600 |
30
35
55 |
240
260
270 |
120 |
300 |
150
6" |
G400
G650
G1000 |
32-650
50-1000
80-1600 |
--
32-1000
50-1600 |
10/16
25/40
64/100 |
50
60
70/90 |
150
300
600 |
50
65
100 |
265
265
285 |
180 |
450 |
200
8" |
G1000
G1600 |
80-1600
130-2500 |
50-1600
80-2500 |
10/16
25/40
64/100 |
75
95
150/160 |
150
300
600 |
100
120
160 |
300
320
320 |
240 |
600 |
250
10" |
G1000
G1600
G2500 |
80-1600
130-2500
200-4000 |
--
80-2500
130-4000 |
10/16
25/40
64/100 |
110/110
135/150
180/225 |
150
300
600 |
110
160
260 |
330 |
300 |
750 |
300
12" |
G2500
G4000 |
200-4000
320-6500 |
130-4000
200-6500 |
10/16
25/40
64/100 |
138/150
225/265
275/290 |
150
300
600 |
155
230
310 |
360 |
360 |
900 |
400
16" |
G4000
G6500 |
320-6500
500-10000 |
200-6500
320-10000 |
10/16
25/40
64/100 |
280/290
350/440
525/580 |
150
300
600 |
350
460
575 |
400 |
480 |
1200 |
500
20" |
G6500
G10000 |
500-10000
800-16000 |
320-10000
500-16000 |
10/16
25/40
64/100 |
560/610
640/700
830/1060 |
150
300
600 |
620
650
1075 |
450 |
600 |
1500 |
600
24" |
G10000
G16000 |
800-16000
1300-25000 |
500-16000
800-25000 |
10/16
25/40
64/100 |
900/940
980/1075
1230/1570 |
150
300
600 |
950
1000
1600 |
500 |
720 |
1800 |
|
| |
|
| |
| |
|
|
| |
注:木测量范围:1:5
从DN80一DN300,压力等级为PNl0/16的轮表装有温度套筒,用来放置温度传感器. |
|
| |
|
|
|
| |