![]() | |||||||||||||||||
![]() |
|||||||||||||||||
|
构造特点 A/140系列弹簧载式调压器有单一阀座和内部平衡阀。这种特别设计的调压器体积小、材质优良、容易设定、压力调节准确。尤其特别容易维修保养,不必将调压器拆管线即可检验或更换阀座与封口。 调压器分为标准型和高压型(AP): A/141和A/141-AP 无放散阀和切断阀 A/142和A/142-AP 带下游超压放散阀 A/148和A/148-AP 带独立操作的气功 控制出口压力超高 和/或超低切断阀 A/149和A/149-AP 同A/148,另带下游 超压安全放散阀 |
|||||||||||||||||
![]() |
|||||||||||||||||
|
|||||||||||||||||
| |||||||||||||||||
|
出口压力 |
入口压力(bar)弹簧 |
弹簧代码 | ||||||||||||||||
|
0.03 |
0.05 |
0.075 |
0.1 |
0.15 |
0.2 |
0.3 |
0.4 |
0.5 |
0.75 |
1 |
1.5 |
2 |
3 |
4 |
5 | |||
|
标 准 型 |
15 |
50 |
80 |
100 |
120 |
150 |
170 |
220 |
250 |
280 |
340 |
400 |
50 |
600 |
650 |
750 |
900 |
0122940 |
|
20 |
75 |
100 |
120 |
150 |
170 |
220 |
250 |
280 |
340 |
400 |
500 |
600 |
650 |
750 |
900 |
0122950 | ||
|
30 |
60 |
90 |
110 |
150 |
170 |
220 |
250 |
280 |
340 |
400 |
500 |
600 |
650 |
750 |
900 |
0127870 | ||
|
40 |
80 |
100 |
140 |
160 |
210 |
250 |
280 |
340 |
400 |
500 |
600 |
650 |
750 |
900 |
0122850 | |||
|
50 |
70 |
90 |
140 |
160 |
210 |
240 |
270 |
340 |
400 |
500 |
600 |
650 |
750 |
900 |
0122850 | |||
|
75 |
120 |
150 |
200 |
240 |
270 |
340 |
400 |
500 |
600 |
650 |
750 |
900 |
0128070 | |||||
|
高 压 型 A. P. |
100 |
100 |
140 |
190 |
230 |
250 |
340 |
400 |
500 |
600 |
650 |
750 |
900 |
0245760 | ||||
|
150 |
100 |
170 |
220 |
250 |
330 |
390 |
500 |
600 |
650 |
750 |
900 |
0130321 | ||||||
|
200 |
140 |
200 |
240 |
330 |
390 |
500 |
600 |
650 |
750 |
900 |
0136150 | |||||||
|
300 |
150 |
210 |
310 |
380 |
500 |
600 |
650 |
750 |
900 |
0184070 | ||||||||
| 本表为比重0.702的天然气每小时标准立方米流量。 其它气体:丙烷乘以0.595、丁烷乘以0.518、氮气乘以0.755、空气乘以0.744 |
流量曲线 设定点压力=20mbar![]() |
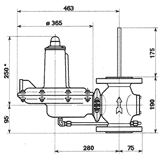
整体尺寸(mm) |
![]() ![]() |
|
A/141 A/142 A/148 A149 *若为高压型调压器,本尺寸应增加100mm |





