| |
 |
| |
|
| |
|
| |
| |
|
|
| |
控制器采用膜片式传感器和无泄漏活塞式二种型式,500/18D膜片式传感器可用于空气、气体等中性气体和润滑油、轻燃油等液体介质。控制器的设定值可调,调节范围-0.1……1.6MPa。
500/18D无泄漏活塞式的传感器可用于液压油、润滑油、轻燃油等中性的润滑介质。控制器的设定值可调,调节范围0.5……25MPa。
|
|
| |
|
|
|
| |
|
| |
工作粘度 |
<1×10-3m2/S |
开关元件 |
微动开关 |
环境温度 |
-25℃~55℃ |
介质温度 |
-25℃~80℃ |
外壳防护等级 |
IP65(符合DIN40050,与GB4208中IP54相当) |
安装位置 |
压力接口垂直向下(允许倾斜15°) |
抗震性能 |
Max:100m/S2 |
重复性误差 |
≤2.5% |
触点容量 |
AC220V 6A(阻性) |
| (若有特殊要求,可另行设计) |
|
| |
| |
|
|
| |
单刀双掷微动开关作用过程:
接线端1-3
压力上升至切换值接通
接线端:1-2
压力上升至上切换值断开
特点:本控制系统是超小型设计,允许开关动作频率较高100次/分,且搞振性特别好 |
|
| |
|
|
|
| |
|
| |
| |
|
|
| |
特点:本控制系统是超小型设计,允许开关动作频率较高100次/分,且搞振性特别好 |
|
| |
|
|
|
| |
|
| |
型号
|
设定
值调
节
(MPa)
|
切换差不大于
|
最大允
许压力
*(MPa)
|
压力传感器材料 |
接口
类型
**
|
接口
内螺
纹
|
重量
Kg
|
外形
尺寸
图号
No.
|
订货
目录
|
设定值
范围下
限(MPa) |
设定值
范围上
限(MPa) |
外壳 |
密封圈 |
活塞 |
500/18D
膜片式
压力
控制器 |
-0.1…0 |
0.015 |
0.02 |
8 |
AI |
丁腈
橡胶 |
|
I |
G1/4" |
0.2 |
01 |
0880100 |
-0.1…0 |
0.015 |
0.02 |
8 |
AI |
P |
-- |
03 |
081100 |
0.02…0.2 |
0.02 |
0.04 |
8 |
AI |
I |
G1/4" |
01 |
0880200 |
0.02…0.2 |
0.02 |
0.04 |
8 |
AI |
P |
-- |
03 |
0881200 |
0.05…0.8 |
0.04 |
0.13 |
8 |
AI |
I |
G1/4" |
01 |
0880300 |
0.05…0.8 |
0.04 |
0.13 |
8 |
AI |
P |
-- |
03 |
0881300 |
0.1…1.6 |
0.06 |
0.24 |
8 |
AI |
I |
G1/4" |
02 |
0880400 |
0.1…1.6 |
0.06 |
0.24 |
8 |
100 |
P |
-- |
03 |
0881400 |
500/18D
活塞式
压力
控制器 |
0.5…7 |
0.8 |
2 |
40 |
AL |
丁腈
橡胶 |
钢 |
I |
G1/4" |
0.2 |
04 |
0882100 |
0.5…7 |
0.8 |
2 |
40 |
AL |
P |
-- |
03 |
0883100 |
1…16 |
1.2 |
3.5 |
40 |
AL |
I |
G1/4" |
04 |
0882200 |
1…16 |
1.2 |
3.5 |
40 |
AL |
P |
-- |
03 |
0883200 |
2.5…25 |
1.5 |
4 |
40 |
AL |
I |
G1/4" |
05 |
0882300 |
2.5…25 |
1.5 |
4 |
40 |
AL |
P |
-- |
03 |
0883300 |
4…40 |
1.8 |
4.5 |
60 |
AL |
I |
G1/4" |
05 |
0882400 |
4…40 |
1.8 |
4.5 |
60 |
AL |
P |
-- |
03 |
0883400 |
|
| |
备注:1.在实际工作中,即使短暂的压力峰值,也不能超过此值。
2.I-接口为内螺纹,P-接口为法兰。 |
| |
|
| |
|
| |
| |
|
|
| |
不可调切换差的控制器设定值一调整步骤,举例说明如下
[例1]选用订货号0882200的控制器,要求压力下降至8MPa(下切换值)发出触点信号,其操作步骤如下:
◆ 将产品旋入油压压力校验台的螺纹口中,(如果控制器是法兰接口,则与压力校验台的法兰相接),按实际工作压力对产品施加2分钟的压力后,方可进行设定。
◆ 将电缆导线接入插头中,电缆的另一头接上万用表;
◆ 将压力加至8MPa,此值可从标准压力计中读出;
◆ 松开锁紧螺钉,用5mm内六角螺钉扳手,顺时针旋动设定值调节螺六角槽,使设定值由小变大,直至开关触点在8MPa处切换;
◆ 旋动锁紧螺钉,调节校验台压力在8MPa上下来回变化,检验压力下降时,触点的切换值是不是8MPa,此值即为要设定的下切换值。其对应的上切换值在8MPa加上切换差2.3MPa(左右)即为10.3MPa(左右); |
|
| |
|
|
|
| |
|
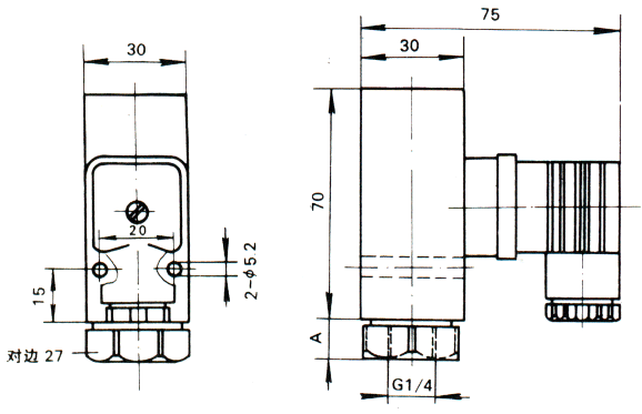
图号 |
A |
0 1 |
1 5 |
0 2 |
9 |
0 4 |
6 |
0 5 |
7 |
|
|
| |
|
| |
| |
|
|
| |
◆ 可供选用附件目录编号:0574767,0574773 SC5·470·505 |
|
| |
|
|
|
|
| |
| |
|
|
| |
◆ 外螺纹转换:接口G1/2"-G1/4"
◆ 订货目录编号:0574767 |
|
| |
|
|
|
|
| |
| |
|
|
| |
◆ 压力冲击阻尼器:接口G1/4"
◆ 订货目录编号:0574773 |
|
| |
|
|
|
|
| |
| |
|
|
| |
◆ 三通接头
◆ 旋下螺塞可接
◆∮60压力表
◆ 订货目录编号:SC5·470·505 |
|
| |
|
|
|
|
| |
|
| |
| |
|
|
| |
◆ 选用控制器,最好使预定的设定值位于控制器设定值调节范围的中间部分,一般为调节范围的20%-80%。
◆ 控制器若要安装在室外时,应给予足够的防护,以免受环境温度的剧烈变化,阳光直接辐射,腐蚀性气体或水的渗入。
◆ 对于有压力峰值及脉冲压力的受控液体介质,可在控制器接口上安装一个压力冲击阻尼器以消除不利影响。
◆ 通断电流不能大于额定值
◆ 安装(或拆卸)控制器时要特别注意:螺纹接口的压力控制器,管道接头旋入G1/4"螺孔深度不可超过12mm。
◆ 安装(或拆卸)控制器时要特别注意:安装(或拆卸)控制器时,应用扳手夹持接口处六角面与管道连接,上部正方形与下部六角面部件不能有相对转动(如图所示) |
|
| |
|
|
|
| |